Please log in here to access all benefits, including multibuy discounts and faster checkouts.

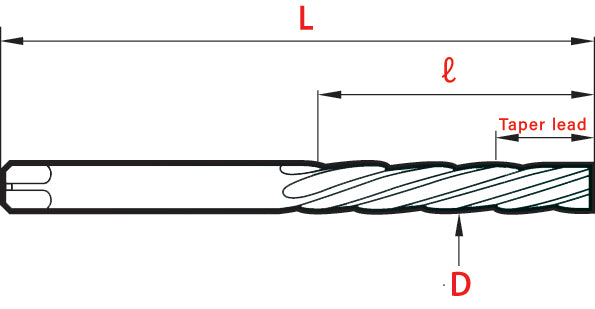
Toolex Hand Reamer - Spiral Flute - Straight Shank - HSS - H5 - 22.78mm
A22780ACB
Availability: In Stock (Low stocks - products selling fast!)
No extra cost if paid on time. 18+ only.
Learn more about Klarna
Intermediate HSS (M2) Precision Hand Reamer. Left hand spiral flute, right hand cutting, DIN 206-B. Supplied by Toolex Ltd. Tolerance : D = ISO H5
This product is manufactur... Read more
Need Assistance?
Speak to our Expert Team
Call Sales
01732 887334
Mon - Fri | 9am - 5pm
Intermediate HSS (M2) Precision Hand Reamer. Left hand spiral flute, right hand cutting, DIN 206-B. Supplied by Toolex Ltd. Tolerance : D = ISO H5
This product is manufactured to order, please allow 24/48 hours for despatch.
*** Please note if this item says in stock it relates to the blanks that are in stock ready to manufacture the reamer for you ***

Do you offer Free Next Day delivery? Yes! To mainland UK we offer Free Next Day delivery on all orders above £50 ex vat*.
We also offer the following:
DPD Standard Next Day Delivery - £7.50 (FREE on orders over £100 ex vat*).
DPD Next Day Pre-12pm - £12.50
DPD Next Day Pre-10.30am - £20.00
We also offer Saturday delivery for those that require it, If you order before 4.30 pm on a Friday. Please see our delivery page for more information.
*T’s & C’s and exclusions apply. Please see our delivery page for more information on all our services including those outside of mainland UK (Republic of Ireland, Northern Ireland, Scottish Highlands, Channel Islands etc).


